
Hintergrund
iPhone 16e im Alltag: die fünf grössten Unterschiede zum iPhone 16
von Florian Bodoky

Warum hat das iPhone 11 Pro Max einen doppelten Camera Bump? Ein Teardown bringt zwar keine direkte Antwort, aber eine Vermutung: Apple schafft sich da Platz für das iPhone 12.
Das Apple iPhone 11 hat vor allem durch einen Design-Entscheid für Diskussionen gesorgt: Der Double Camera Bump. Auf der Rückseite ist eine Erhebung, in der die Kameras eingelassen sind. Das ist bei praktisch jedem Smartphone so. Denn der sogenannte Camera Bump macht es Nutzern einfacher, das Phone aufzuheben und verhindert, dass du versehentlich mit den Fingern auf den Linsen rumpfotest.
Schön. Simpel. Komplexes einfach gemacht. Das sind die Prinzipien, denen Ive folgt. Apple trägt dem auch nach Ives Weggang im November 2019 Rechnung. Denn die Ideen sind zu gut, zu effizient und – nachdem alle Radien gezeichnet und alle Farbpaletten definiert sind – zu finanziell erfolgreich.
Warum also so etwas Hässliches wie der Double Camera Bump des iPhone 11? Der Teardown soll Antworten bringen. Am Ende aber steht eine Frage im Haus und eine Vermutung: Apple plant in der unmittelbaren Zukunft Grosses mit der Kamera.
Damit du ins Innere eines iPhones vordringen kannst, brauchst du einen Heissluftföhn und eine dünne, aber stumpfe Klinge. Hierzu einige Warnungen:
Sobald du das iPhone mit dem Heissluftföhn aus einer Entfernung von etwa 20cm etwa eine halbe Minute lang beföhnt hast, kannst du einen Saugnapf auf den Screen aufdrücken, mit den Fingern die Ränder des Phones greifen – vorsicht heiss – und das Gerät etwas auseinanderziehen. Mit Vorsicht, aber. Du wirst schnell sehen, wo und ob sich das Display von der Backplate lösen lässt. Wenn sich nichts tut, einfach mehr Heissluft.
Wenn du dann die obere, die untere und die linke Seite aufgetrennt hast, kannst du das iPhone einfach aufklappen.
Es bietet sich ein Anblick, der mich das iPhone einfach nur lieben lässt. Der Technologie-Fan in mir hat ein Hoch. So schön verbaut wie das iPhone ist kein anderes Phone, dessen Innereien ich bisher gesehen habe. Es ist von innen definitiv schöner als von aussen.
Der Grossteil des Innenlebens wird vom Akku bestimmt. Apple hat im laufenden Jahr nicht gespart, hat das iPhone sogar etwas dicker gemacht als im Vorjahr. War das iPhone XS Max 7.7mm dick, ist das iPhone 11 Pro Max 8.1mm dick. Den Platz hat sich Apple unter anderem mit Akkuleistung zu Nutze gemacht.
Am oberen und unteren Rand sind die Mikrofon- und Lautsprecher-Arrays verbaut. Dazu die Apple Taptic Engine, der Vibrationsmotor des iPhones.
Fast schon unbedeutend an der Seite dann das eigentliche iPhone. Das Bauteil, in dem alles auf deinem Phone zusammenläuft: Das Mainboard. Auf ihm sind sogenannte Lego Connectors, die die Komponenten per Kabel mit dem Mainboard verbinden. Hier zeigt sich, wie knapp der Platz ist. Lego Connectors sind geschichtet, also da ist ein Connector unter dem anderen. Aber auch hier: Meisterhaft gelöst.
Wenn du das iPhone reparieren willst, empfehle ich dir daher dringend, die gelösten Schrauben irgendwie so aufzubewahren, dass du nachvollziehen kannst, wo du sie herausgedreht hast. Sonst bist du am Ende dann recht in der Misere. Im Namen des Right to Repair wäre es hier nett, wenn Apple sich auf einen Typ Schraubenzieher festlegen würde, denn dann wäre die Reparatur eines iPhones um einiges einfacher.
Es wird jetzt aber spannend. Nachdem die Selfie Cam entfernt ist, habe ich freien Zugang auf das Kamerasystem mit dem Double Camera Bump. Schon bei der Demontage fällt mir eines auf. Da ist ein recht klobiger Rahmen im ersten Camera Bump verbaut.
Dieser will so recht nicht ins ganze Design des iPhones passen. Er ist klobig, wirkt alles andere als gewollt und erschreckend grobschlächtig. Bisher war das iPhone ein Meisterwerk der Filigranität und des gewollten Designs. Und jetzt dieses Metallding. Warum? Wäre das nicht, dann könnte das iPhone nicht nur leichter sein, sondern auch schlanker. Apple hätte sich den Platz sparen können.
Ausser Apple will den Platz nicht einsparen. Denn Apple macht nichts zufällig.
Was also in den vorigen Raum packen?
Daher ist es locker denkbar, dass bereits in der frühen Entwicklung des iPhone 11 klar war, oder sogar vorher, wie das iPhone 12 aussehen wird. Im selben Gedankengang wäre es möglich, dass das iPhone 11 sich den Design-Ideen des iPhone 12 hat beugen müssen und der zweite Camera Bump aktuell noch keinen Nutzen hat, da der Platz erst im Verlauf des Jahres relevant wird.
Apple könnte jetzt also diese beiden Systeme und noch ein drittes, dessen Patent nicht neu ist, in ein iPhone 12 verbauen. Doch Patente sind so eine Sache: Nur weil sie eingegeben sind, heisst das nicht, dass sie tatsächlich dereinst Realität werden. Aber Patente geben an, in welchen Forschungsbereichen Apple gerade Ressourcen investiert.
Kombiniert mit dem hässlichen Metallstück im Innern des iPhone 11 Pro Max kann der Skizze der Apple'schen Zukunft noch ein paar Striche hinzugefügt werden.


Journalist. Autor. Hacker. Ich bin Geschichtenerzähler und suche Grenzen, Geheimnisse und Tabus. Ich dokumentiere die Welt, schwarz auf weiss. Nicht, weil ich kann, sondern weil ich nicht anders kann.
Interessantes aus der Welt der Produkte, Blicke hinter die Kulissen von Herstellern und Portraits von interessanten Menschen.
Alle anzeigenAber Apple hat mit dem iPhone 11 auf dem Bump noch einen zusätzlichen Bump pro Linse hinzugefügt. Das ist seltsam, denn Apple gibt sich mit dem Design ihrer Geräte immer allergrösste Mühe. Fans wie auch Zyniker argumentieren, dass ein Teil des hohen Preises der Apple-Geräte der Preis für schönes Design sei. Und wer Ex-Apple-Chefdesigner Jony Ive gehört hat, wie er über die Ideen hinter dem Design Apples spricht, der weiss: Apple überlasst nichts dem Zufall, wenn es um Design geht.
Apple produziert das aktuell wasserdichteste Smartphone auf dem Markt. Nur schon dieses Wissen alleine macht den Teardown schwierig. Denn je wasserdichter ein Phone ist, desto schwieriger wird es, ins Gerät vorzudringen, ohne grossen Schaden anzurichten. Das iPhone 11 hat zwar ein IP-Rating von IP 68, testet das Gerät aber härter. IP 68 sagt, dass ein Gerät 30 Minuten lang unter Wasser in einer Tiefe von einem Meter überleben soll. Apple aber hat das iPhone 11 so gebaut, dass es 30 Minuten in einer Tiefe von 4 Metern übersteht.
Erste Anzeichen davon zeigen sich schon beim Herausdrehen der zwei Schrauben neben dem Charging Port. Diese sind die Apple-typischen proprietären Schrauben, die aber mit einem iFixit Toolkit einigermassen einfach aufzuschrauben sind. Das Schraubgewinde ist zusätzlich mit Klebmasse gefüllt, was jedes bisschen Eindringen von Wasser verhindern soll. Es ist genau hier, wo Apple anfängt, zu glänzen. Es ist diese Aufmerksamkeit für die hinterletzten kleinen Details, die am Ende das iPhone zu einem so schönen Gerät werden lassen. Dieser Teardown bestätigt das nicht nur, sondern lässt meine Bewunderung für Apples Engineering nur noch grösser werden.
Mit den zwei Schrauben gelöst, fällt das Gerät aber nicht auseinander. Wie die meisten Smartphones ist das iPhone 11 Pro Max aussen in zwei Elemente aufgeteilt. Vorne der Screen, hinten eine Art Wanne, in der die ganze Technologie gestopft wird. Die beiden Elemente sind verklebt, was einer der grossen Kritikpunkte der Anhänger des Right to Repair sind. Es ist schier unmöglich, das Wasserdichtesiegel wieder so gut hinzukriegen, wie es war, wenn das Gerät erst einmal offen ist. Und Apple lässt sich mit dem schwarzen Kleber nicht lumpen.

Wenn du genug Platz zwischen Backplate und Screen geschaffen hast, dann kannst du mit der Klinge in den Spalt eindringen. Das hilft und macht die Arbeit mit dem Heissluftföhn einfacher, denn du kannst wie mit einem Brieföffner den aufgeweichten Kleber auftrennen. Sei aber stets vorsichtig, denn du bist sehr nahe an sehr empfindlicher Elektronik. Apple, genau wie alle anderen Hersteller von Smartphones, verbauen die Robustheit in der Aussenhülle. Im Innern des Geräts ist zwar alles solid verbaut, die Teile sind aber längst nicht so robust wie der Screen oder die Backplate.

Denn eines musst du über Smartphones wissen. Jedes bisschen Platz ist unendlich wertvoll. Das ist es auch, was mich zur Schlussfolgerung mit den Kameras in diesem Artikel bringt. Kaum ein Gerät ist so dicht zugepackt mit Technologie wie ein Smartphone. Da sind Millimeter auf einmal Welten. Im Innern des iPhones, wie erwartet, wimmelt es von speziellen Konnektoren und proprietär aussehenden Kabelverbindungen. Das iPhone gleicht keinem anderen Phone, ausser, dass der Akku den Innenraum dominiert. Generell ist ein Grossteil des Gewichts eines Smartphones der Akku.
Um dem Rätsel des Double Camera Bumps auf die Schliche zu kommen, ist hier aber noch nicht Schluss. Womit wir aber beim Hauptfrust des iPhone 11 Pro Max angekommen sind. Die meisten Schrauben kann ich mit einem Y000-Schraubenzieher lösen. Ausser die, die halt einen 000-Kreuzschraubenzieher benötigen. Das sind drei Typen Schraube, die ich bisher getroffen habe. Es gibt später noch einen vierten Typen: Die Schraube mit Schraubgewinde im Hals. Die kannst du mit einem flachen Schraubenzieher aufdrehen. Ich verstehe den vierten Typ Schraube, nicht aber, weshalb Apple drei andere Typen Schraube hat brauchen müssen. Wäre es nicht einfacher gewesen, alles auf Torx zu machen? Es ist nicht so, dass Torx keine so kleinen Grössen hat. Torx T5 ist mit 1.42mm sogar etwas kleiner als der Kreuzschraubenzieher oder Y000 mit 1.5mm.


Der grosse unnütze Blechklumpen im unteren Camera Bump lässt eines vermuten: Apple schafft sich Platz. Denn Apple hat eine Geschichte der Wiederverwendung von Aussenhüllen. Das iPhone X und dessen Nachfolger, das XS, haben die exakt selben Masse. Modell XS ist einfach wasserdichter als X. Wenn wir jetzt davon ausgehen, dass das iPhone 12 genau die gleiche Hülle wie das iPhone 11 hat, dann hat Apple oben bei der Kamera auf einmal einen Millimeter oder mehr Platz.

Die Entwicklung eines Smartphones vom Entschluss, ein neues Modell zu produzieren, bis zur Markteinführung dauert in etwa zwei Jahre. Die Entwicklung der darunterliegenden Technologie oft länger. Das sind so Faustregeln, mit denen die Analystenszene arbeitet, aber sie sind umstritten. Einige sagen, es dauert länger, andere vermuten weit spontaneres Vorgehen. Ich selbst habe Sony recht spontanes Verhalten unterstellt, als ich über das Marketing und die industrielle Wahrheit des Sony Xperia 1 nachgedacht habe.
Die Frage ist aber nun, was denn in die Lücke gepackt werden soll, die das Herausnehmen oder Verschmälern des blockigen Rahmens bringt. Ein Blick in die Gerüchteküche und die Worte des Analysten Ming Chi Kuo, dessen Trefferrate erstaunlich hoch ist, zeigt, dass er im Juli 2019 mit einer Time of Flight-Kamera (ToF) rechnet. Zudem mit 5G Chips, aber die werden wohl im Mainboard untergebracht werden. Die ToF-Kamera misst die Distanzen im Bild, hilft dabei, schnellere und schönere Tiefenunschärfe und 3D-Effekte hinzukriegen. Das würde eine dramatische Verbesserung der Performance der Kamera des iPhone 12 bedeuten. Diese Vermutung bestätigt Ming Chi Kuo in einer weiteren Publikation aus dem Dezember 2019.

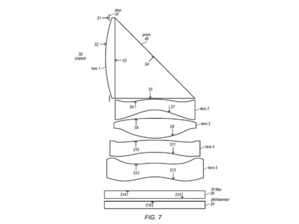
Malcolm Owen des Apple-Magazins AppleInsider hat entdeckt, dass Apple an einem Kamerasystem arbeitet, das drei bis fünf Kameralinsen aufeinanderstapelt. Im Patent mit dem Titel «Folded lens system with five refractive lenses» und seinem kleineren Geschwister «Folded lens system with three refractive lenses» sind zwei Kamerasysteme zu sehen, die sich radikal von den aktuellen Linsen in einem Smartphone – nicht nur dem iPhone – unterscheiden. Der Sensor würde nicht mehr flach im Kamerasystem verbaut werden, also parallel zum Bildschirm, sondern rechtwinklig. Ein Prisma würde dann das Licht von aussen ins Innere des iPhones vordringen lassen, wo die drei oder fünf Linsen das entstehende Bild manipulieren.
Das Fünf-Kamera-Setup soll einem 50-85mm-Objektiv gleichkommen, mit einem Sichtfeld von 28 bis 41 Grad. Das soll sich laut Malcolm Owen gut für Weitwinkelaufnahmen eignen. Die drei Kameras sollen derweil 80-200mm-Objektiven gleichkommen und ein Sichtfeld von 17.8 bis 28.5 Grad haben. Owen meint dazu, dass sich das als Telephotolinse eigne. AppleInsider geht sogar noch einen Schritt weiter und sagt, dass diese neue Architektur der Linsen den Camera Bump dramatisch verkleinern könnte.


Lenovo ThinkCentre neo 50q Gen 5
1000 GB, 32 GB, Intel Core 7 240H