
16 fotocamere? Cosa sono le fotocamere degli smartphone
Presto sarà possibile integrare fino a 16 fotocamere in un singolo smartphone. È un'assurdità, perché le immagini non migliorano solo perché ci sono più di una dozzina di obiettivi. Il fattore decisivo è il software che elabora le informazioni sulle immagini.
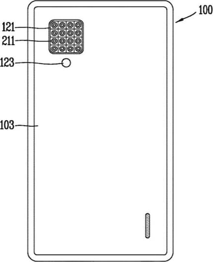
Huawei ha iniziato. In primavera il P20 Pro è stato dotato di tre fotocamere. Samsung ha seguito l'esempio in autunno e ha fatto di meglio: Il Samsung Galaxy A9 ha quattro fotocamere. LG ha fatto di meglio e ha depositato un brevetto per 16 fotocamere sul retro di uno smartphone.

E poi c'è Google. Il Google Pixel 3 ha sfacciatamente ancora una sola fotocamera sul retro. Tuttavia, le fotocamere dei Pixel di Google sono ancora tra le migliori sul mercato. Il motivo: non è una questione di numero di fotocamere.
Una fotocamera è sufficiente
Confrontare la fotocamera di uno smartphone con una reflex o una fotocamera di sistema come la mia Sony a7s II rende un'ingiustizia a entrambi i dispositivi. Le malelingue sostengono che gli smartphone rendono superflui i fotografi. Tuttavia, le differenze non risiedono nel funzionamento, ma nella funzione della tecnologia.
Una fotocamera di sistema come la a7s II scatta esattamente la foto che vedi nel mirino. Ogni impostazione è fatta da te. Si lavora con un'interazione tra bilanciamento del bianco, nitidezza, apertura, luci e ombre e una serie di altri fattori.

Questo vale per la modalità manuale. In modalità automatica, spesso disapprovata dai fotografi, la costosa fotocamera di sistema fa quello che lo smartphone fa di default: fa tutto il lavoro al posto tuo.
Uno smartphone è progettato per scattare le migliori foto possibili. Per farlo, calcola tutti gli elementi che dovresti impostare manualmente su una Sony a7s II in pochi secondi. Spesso gli smartphone non dispongono di una modalità manuale. In alcuni casi, è possibile adattarla con applicazioni come Open Camera per Android e l'iPhone ha una funzione manuale limitata integrata da iOS 8. Tuttavia, anche con la migliore implementazione possibile, la modalità manuale non è mai stata così semplice. Tuttavia, anche con la migliore implementazione di Open Camera o della modalità manuale di Apple, l'hardware spesso mette i bastoni tra le ruote. L'apertura del diaframma è spesso un esercizio puramente matematico e solo pochi telefoni dispongono di un'apertura manuale. Lo stesso vale per la funzione di zoom. Se un obiettivo non è tecnologicamente in grado di effettuare lo zoom, allora non può farlo.
In teoria, questo potrebbe essere cambiato. Ma la mia a7s II ha controlli e manopole che regolano ogni genere di cose per me. Sui miei smartphone, devo sempre andare in un menu, poi regolare in modo impreciso un cursore e sperare per il meglio. Uso la mia a7s II alla cieca perché so dove sono tutti i controlli. Guardo sempre con difficoltà il mio smartphone quando voglio scattare una foto un po' più ambiziosa, al di fuori delle impostazioni standard.
In breve, l'obiettivo di uno smartphone svolge una funzione completamente diversa rispetto a quello di una reflex o di una fotocamera di sistema. Su uno smartphone, in teoria, è sufficiente che un obiettivo reagisca rapidamente e registri il maggior numero possibile di informazioni sull'immagine.
Il software si occupa di gestire le immagini.
Il software si occupa del resto.
I trucchi del software
È il software che distingue gli smartphone. Dopo tutto, un'app fotografica non si limita a scattare qualche foto, ma esegue anche una serie complessa di calcoli in un tempo molto breve. Questo aspetto è più evidente che negli scatti notturni.
Gli scatti notturni con gli smartphone hanno poco a che fare con la fotografia tradizionale. Questo perché l'obiettivo del telefono, che registra il maggior numero di informazioni possibili, scatta una serie di immagini che vengono poi messe insieme dal software dell'app della fotocamera. I valori dei colori, la luminosità e tutti gli altri attributi dell'immagine vengono calcolati in modo tale che l'immagine contenga il maggior numero possibile di dettagli.
Questo può apparire come segue.

A prima vista, non c'è molto di sbagliato in questa foto. La produttrice video Stephanie Tresch si trova davanti all'Hôtel de Ville alle 23.07 e io sto provando il nuovo Huawei P20 Pro. Premo il pulsante, il telefono visualizza un conto alla rovescia in un cerchio e alla fine, dopo un breve tempo di calcolo, appare l'immagine qui sopra.
Se ingrandisci l'immagine, ti accorgerai che non c'è più niente da fare.
Se ingrandisci l'immagine, puoi vedere cose come la bandiera davanti alla torre e la torre stessa.

Neanche l'app fotocamera di Huawei è sicura dei capelli di Stephanie. Sembra che abbia un'aureola.

L'istantanea con Stephanie non è in realtà una foto, ma un oggetto cucito creato da molte immagini e calcolato da un'intelligenza artificiale. Da qui le piccole anomalie che rendono un'immagine adatta ai social media ma non particolarmente preziosa in termini fotografici.
La decisione del computer
Nessuna foto che esce da uno smartphone è la foto che è stata scattata. Questo perché l'app della fotocamera effettua un numero incredibile di calcoli, abbellisce e ottimizza le immagini in una frazione di secondo. Questo è vero anche se non si impostano filtri speciali o effetti di illuminazione.
Uno smartphone è progettato per fornire rapidamente splendide istantanee per i messaggi di chat e i social media. È grazie all'entusiasmo dei produttori di hardware e degli sviluppatori di software che queste immagini stanno migliorando sempre di più e stanno conquistando le immagini dei fotografi di tutto il mondo. Hanno già distrutto il mercato delle fotocamere compatte. Dopo tutto, chi ha bisogno di una piccola Ixus o di una Cybershot quando uno smartphone offre immagini altrettanto buone?
La partita si decide nell'app, non nell'obiettivo. Ecco perché le applicazioni per fotocamere sono molto richieste.
Google è attualmente all'avanguardia. Il sistema Night Sight produce immagini impressionanti al buio. Gli scatti notturni sono così belli sul Pixel 3 che i coder di tutto il mondo hanno deciso di rendere l'app disponibile per hardware diversi da quello di Google. Con successo. Diverse decine di cosiddette app port sono gratuitamente scaricabili. Lo sviluppatore Celso Azevedo ha compilato un elenco di versioni consigliate per aiutarti a orientarti nel caos di app presenti sul sito. Tuttavia, questo non significa che queste versioni funzioneranno necessariamente sul tuo telefono. Come me, dovrai provarle. Se l'app si blocca dopo l'avvio o non viene visualizzata o non funziona correttamente per un certo periodo di tempo, allora utilizza semplicemente la versione successiva.
Linee guida generali per la scelta dell'applicazione:
- Prova ⌘/CTRL+F e poi il marchio del tuo smartphone.
- Se è presente nell'elenco uno smartphone compatibile che ha lo stesso system-on-a-chip (SoC) del tuo smartphone, puoi provare con quello. ⌘/CTRL+F e poi Snapdragon, Exynos o Kirin potrebbero esserti d'aiuto.
- Huawei sembra attualmente in perdita a causa delle sanzioni commerciali degli Stati Uniti e del fatto che la piattaforma Kirin non è simile allo Snapdragon sotto molti aspetti.
Quindi, è tutto. Vado a curiosare. Divertiti, perché ne vale la pena. Night Sight è fantastico.
Giornalista. Autore. Hacker. Sono un contastorie e mi piace scovare segreti, tabù, limiti e documentare il mondo, scrivendo nero su bianco. Non perché sappia farlo, ma perché non so fare altro.
Curiosità dal mondo dei prodotti, uno sguardo dietro le quinte dei produttori e ritratti di persone interessanti.
Visualizza tutti